Fanar Μηχανική βρύση M3 (C4-565001-0030)

 
24.38 

ή

2.03€ / μήνα για 12 μήνες με άτοκες δόσεις!!!
η προσφορά ισχυεί μόνο για αγορές με πιστωτική κάρτα
5900920100017
4 έως 6 μέρες
+
Σημαντικό: Για παραλαβή από το κατάστημά μας θα πρέπει πρώτα να επικοινωνήσετε τηλεφωνικά μαζί μας προς αποφυγή οποιασδήποτε ταλαιπωρίας.

Περιγραφή

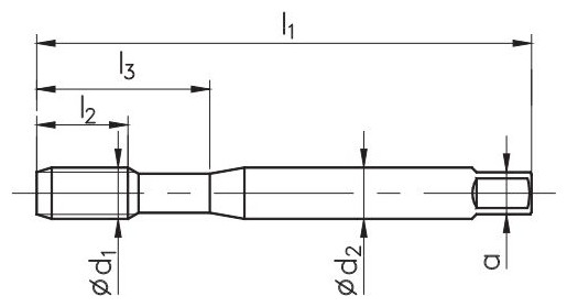
Βρύση μηχανής M3 (C4-565001-0030)   Χαρακτηριστικός: Μετρικό απλό νήμα DIN-371 Εφαρμογή: ΑΝΕΜΙΣΤΗΡΑΣ Για χάλυβες εργαλείων και σκληρά στη μηχανή χάλυβες με αντοχή 800 MPa < Rm < 1200 MPa και θερμικά επεξεργασμένους χάλυβες έως 38 HRC  Τύπος υλικού: Χάλυβας υψηλής ταχύτητας HSSE-PM με επίστρωση πούδρας Τύπος οπής: <2,5δ Τύπος επίστρωσης: TiCN BALINIT B Αποκοπή: C / 2-3P Ανοχή: ISO2 (6H   Εφαρμογή: Μετριασμένος χάλυβας, κράμα χάλυβας, χάλυβας εργαλείων Χάλυβας μετριασμένος σε 38 HRC Φερριτικός, μαρτενσιτικός ανοξείδωτος χάλυβας Ωστενιτικός ανοξείδωτος χάλυβας Ανοξείδωτο ωστενιτικό-φερριτικό (Duplex) Ελατός χυτοσίδηρος Εόλκιμος σίδηρος Κράματα αλουμινίου 1% < Si < 7%   Τεχνικά στοιχεία: Μέγεθος: M3 P: 0,5 mm l1: 56 mm l2: 5 mm l3: 18 mm d2: 3,5 mm α: 2,7 mm d: 2,5 mm{Type} Πατήστε μηχανής. {Type} Πατήστε μηχανής. {Type} Πατήστε μηχανής. {Μέγεθος}M3 . {Μέγεθος}M3 . {Μέγεθος}M3 . {Extended} Όχι. {Extended} Όχι. {Extended} Όχι. {Συνολικό μήκος [mm]} 56 . {Συνολικό μήκος [mm]} 56 . {Συνολικό μήκος [mm]} 56 . {Συσκευασία} 1 τεμ. . {Συσκευασία} 1 τεμ. . {Συσκευασία} 1 τεμ.

Χαρακτηριστικά

Μάρκα
:
Fanar