Fanar Μηχανική βρύση M5 (C4-565001-0050)

 
25.76 

ή

2.15€ / μήνα για 12 μήνες με άτοκες δόσεις!!!
η προσφορά ισχυεί μόνο για αγορές με πιστωτική κάρτα
5900920102387
4 έως 6 μέρες
+
Σημαντικό: Για παραλαβή από το κατάστημά μας θα πρέπει πρώτα να επικοινωνήσετε τηλεφωνικά μαζί μας προς αποφυγή οποιασδήποτε ταλαιπωρίας.

Περιγραφή

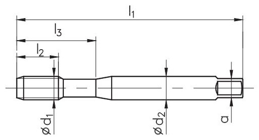
Gwintownik maszynowy M5 (C4-565001-0050) Charakterystyka: Gwint metryczny zwykły DIN-371 Zastosowanie: FAN Do stali narzędziowych i trudnoobrabialnych o wytrzymałości 800 MPa < Rm < 1200 MPa oraz ulepszanych cieplnie do 38 HRC  Rodzaj materiału: HSSE-PM stal szybkotnąca proszkowa Typ otworu: <2,5d Rodzaj powłoki: TiCN BALINIT B Nakrój: C / 2-3P Tolerancja: ISO2 (6H   Zastosowanie: Stal do ulepszania cieplnego, stal stopowa, stal narzędziowa Stal ulepszana cieplnie do 38 HRC Stal nierdzewna ferrytyczna, martenzytyczna Stal nierdzewna austenityczna Stal nierdzewna austenityczno-ferrytyczne (Duplex) Żeliwo ciągliwe Żeliwo sferoidalne Stopy aluminium 1% < Si < 7%   Dane techniczne: Rozmiar : M5 P: 0,8mm l1: 70mm l2: 8mm l3: 25mm d2: 6mm a: 4,9mm d: 4,2mm

Χαρακτηριστικά

Μάρκα
:
Fanar